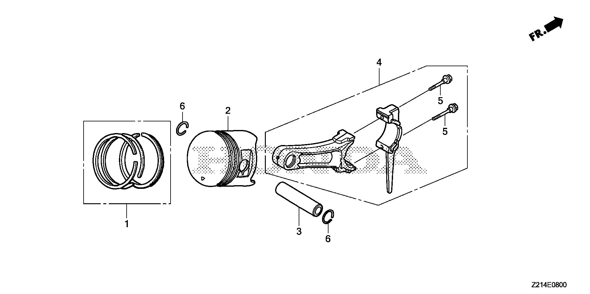
Generators EM EM5000 EM5000SXK2 AC EANC-1000001-9999999 PISTON@CONNECTING ROD - D & J Equipment Inc

Ref No
Part Number
Description
Serial Range
Qty
Price

Ref No
1
Part Number
13010-Z5L-004
Description
RING SET, PISTON (STD) (TPR)
Serial Range
4099048 - 9999999
Qty
Price
$42.78

Ref No
2
Part Number
13101-ZE3-W01
Description
PISTON (STD)
Serial Range
4099048 - 9999999
Qty
Price
$80.44

Ref No
2
Part Number
13102-ZE3-W01
Description
PISTON (0.25) (NOT AVAILABLE)
Serial Range
4099048 - 9999999

Ref No
2
Part Number
13103-ZE3-W01
Description
PISTON (0.50) (NOT AVAILABLE)
Serial Range
4099048 - 9999999

Ref No
2
Part Number
13104-ZE3-W01
Description
PISTON (0.75) (NOT AVAILABLE)
Serial Range
4099048 - 9999999

Ref No
3
Part Number
13111-ZF6-000
Description
PIN, PISTON
Serial Range
1000001 - 9999999
Qty
Price
$14.98

Ref No
4
Part Number
13200-Z1C-900
Description
ROD ASSY., CONNECTING (STD)
Serial Range
1000001 - 9999999
Qty
Price
$29.94

Ref No
4
Part Number
13200-ZE3-315
Description
ROD ASSY., CONNECTING (0.25 LOWER SIZE)
Serial Range
1000001 - 9999999
Qty
Price
$140.40

Ref No
5
Part Number
90001-ZE8-000
Description
BOLT, CONNECTING ROD
Serial Range
1000001 - 9999999
Qty
Price
$4.34

Ref No
6
Part Number
90601-ZE3-000
Description
CLIP, PISTON PIN (20MM)
Serial Range
1000001 - 9999999
Qty
Price
$2.24