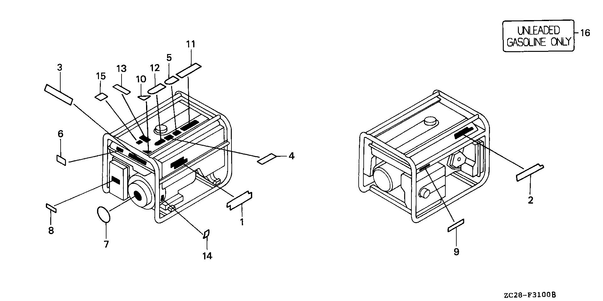
Generators EW EW171 EW171K1 A/A EB1-1120001-9999999 LABELS - D & J Equipment Inc

Ref No
Part Number
Description
Serial Range
Qty
Price

Ref No
1
Part Number
87102-ZC2-J12
Description
MARK, EMBLEM (EW171)
Serial Range
1115969 - 9999999

Ref No
3
Part Number
87152-ZC2-J30
Description
LABEL, SPECIFICATION
Serial Range
1115969 - 9999999
Qty
Price
$3.66

Ref No
4
Part Number
87522-ZAB-C30
Description
MARK, CAUTION (NOT AVAILABLE)
Serial Range
1115969 - 9999999

Ref No
5
Part Number
87516-ZC2-S30
Description
LABEL, OPERATOR WARNING
Serial Range
1115969 - 9999999

Ref No
6
Part Number
87528-898-620
Description
MARK, CHOKE
Serial Range
1115969 - 9999999
Qty
Price
$2.14

Ref No
9
Part Number
87539-Z08-E31
Description
MARK, EX. CAUTION
Serial Range
1115969 - 9999999
Qty
Price
$4.30

Ref No
13
Part Number
87565-ZB4-A00
Description
PLATE, FUEL INDICATION
Serial Range
1115969 - 9999999
Qty
Price
$6.22

Ref No
14
Part Number
87594-ZB4-A00
Description
MARK, OIL CAUTION
Serial Range
1000001 - 9999999
Qty
Price
$4.18

Ref No
15
Part Number
87656-ZC2-J30
Description
LABEL, CHEMICAL WARNING (NOT AVAILABLE)
Serial Range
1115807 - 9999999