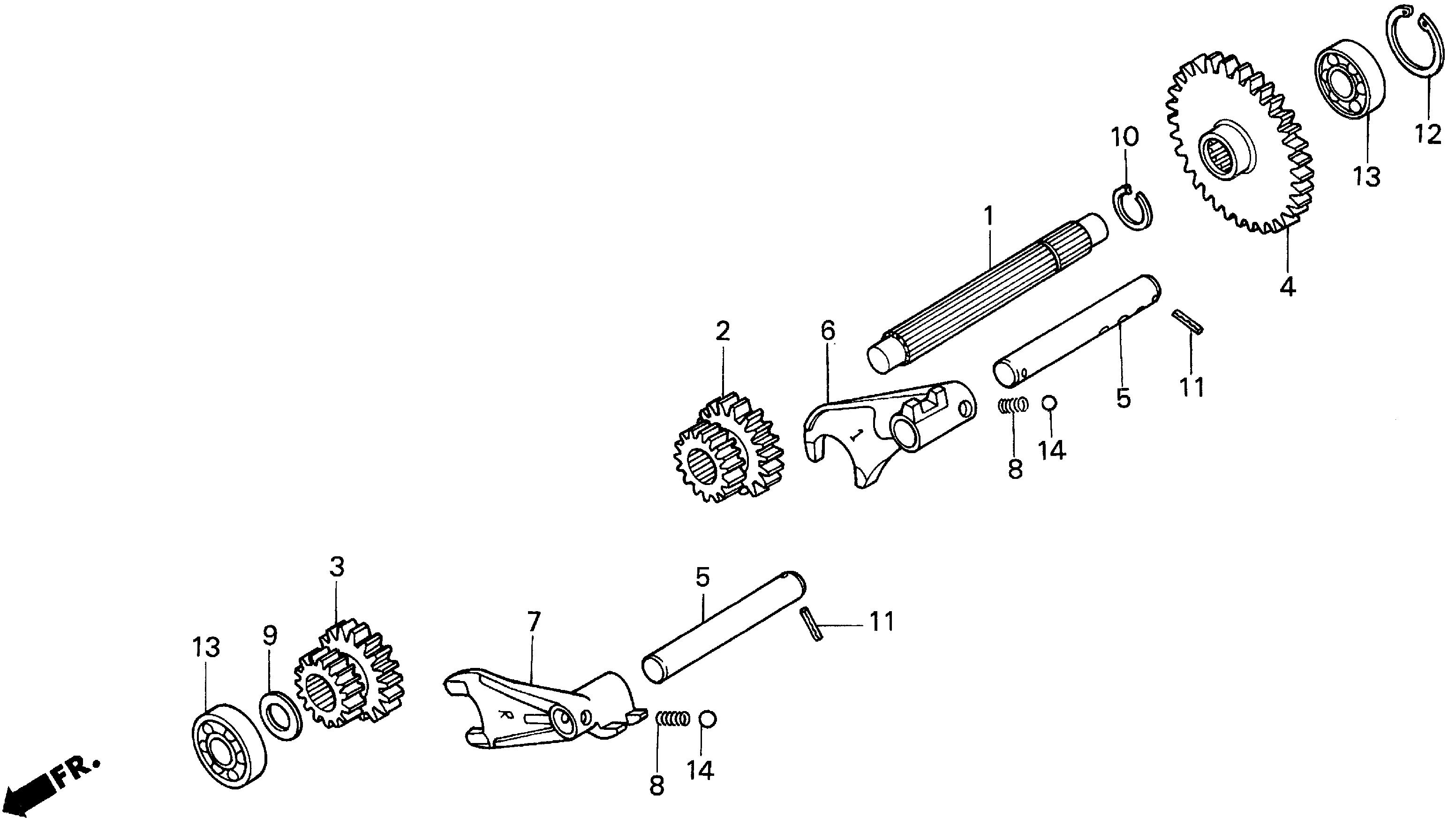
Multi Purpose Tractor H H5013 H5013 A2/B FAHA-2100001-3099999 UPPER COUNTERSHAFT - D & J Equipment Inc

Ref No
Part Number
Description
Serial Range
Qty
Price

Ref No
1
Part Number
23221-752-000
Description
COUNTERSHAFT (UPPER) (NOT AVAILABLE)
Serial Range
1000001 - 9999999

Ref No
2
Part Number
23412-752-010
Description
GEAR, FIRST-SECOND CHANGE (27T-17T) (NOT AVAILABLE)
Serial Range
5002483 - 9999999

Ref No
3
Part Number
23413-752-010
Description
GEAR, REVERSE CHANGE (27T-17T) (NOT AVAILABLE)
Serial Range
5002483 - 9999999

Ref No
4
Part Number
23422-752-000
Description
GEAR, COUNTERSHAFT (53T) (NOT AVAILABLE)
Serial Range
5002483 - 9999999

Ref No
5
Part Number
24111-752-000
Description
SHAFT, MAIN CHANGE (NOT AVAILABLE)
Serial Range
1000001 - 9999999

Ref No
6
Part Number
24112-752-000
Description
FORK, SHIFT (1-2) (NOT AVAILABLE)
Serial Range
1000001 - 9999999

Ref No
7
Part Number
24132-752-000
Description
FORK, REVERSE SHIFT
Serial Range
1000001 - 9999999

Ref No
8
Part Number
24456-PH8-000
Description
SPRING A, BALL SETTING (NOT AVAILABLE)
Serial Range
1000001 - 9999999

Ref No
9
Part Number
90456-155-000
Description
WASHER (17MM)
Serial Range
1000001 - 9999999
Qty
Price
$6.58

Ref No
10
Part Number
90601-679-000
Description
CIRCLIP (OUTER) (20MM)
Serial Range
1000001 - 9999999
Qty
Price
$8.72

Ref No
11
Part Number
94305-30182
Description
PIN, SPRING (3X18)
Serial Range
1000001 - 9999999
Qty
Price
$1.54

Ref No
12
Part Number
94520-40000
Description
CIRCLIP (INNER) (40MM)
Serial Range
1000001 - 9999999
Qty
Price
$2.80

Ref No
13
Part Number
96100-62030-00
Description
BEARING, RADIAL BALL (6203)
Serial Range
1000001 - 9999999

Ref No
14
Part Number
96211-10000
Description
BALL, STEEL (#10) (5/16)
Serial Range
1000001 - 9999999
Qty
Price
$1.62