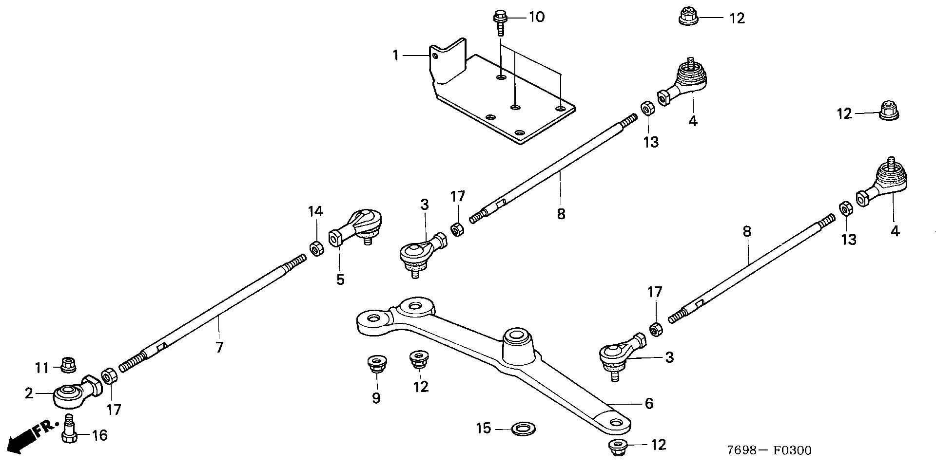
Multi Purpose Tractor H H5518 H5518 A2/A TZAC-1000001-1999999 REAR STEERING ARM - D & J Equipment Inc

Ref No
Part Number
Description
Serial Range
Qty
Price

Ref No
1
Part Number
17545-769-000
Description
BRACKET B, FUEL TANK
Serial Range
1000001 - 9999999

Ref No
2
Part Number
53159-752-003
Description
EYE, STEERING ROD END
Serial Range
1000001 - 9999999

Ref No
3
Part Number
53165-752-003
Description
JOINT, R. BALL (ER12)
Serial Range
1000001 - 9999999

Ref No
4
Part Number
53166-752-003
Description
JOINT, L. BALL (ER12)
Serial Range
1000001 - 9999999

Ref No
5
Part Number
53168-752-004
Description
JOINT, L. BALL (ER10)
Serial Range
1000001 - 9999999

Ref No
6
Part Number
53425-752-630
Description
ARM, RR. STEERING
Serial Range
1000001 - 9999999

Ref No
7
Part Number
53435-769-003
Description
ROD, RR. STEERING RELAY
Serial Range
1000001 - 9999999

Ref No
8
Part Number
53522-752-B31
Description
TIE ROD, RR.
Serial Range
1000001 - 9999999

Ref No
9
Part Number
90002-SA7-000
Description
NUT, SELF-LOCK (10MM)
Serial Range
1000001 - 9999999

Ref No
10
Part Number
90103-426-000
Description
BOLT, FLANGE (8X20)
Serial Range
1000001 - 9999999
Qty
Price
$4.42

Ref No
11
Part Number
90201-PB8-000
Description
NUT, COMPRESSOR FLANGE (12MM) (NOT AVAILABLE)
Serial Range
1000001 - 9999999

Ref No
12
Part Number
90215-SB0-003
Description
NUT, SELF-LOCK (12MM) (CLINCH) (SATO RASHI)
Serial Range
1000001 - 9999999

Ref No
13
Part Number
90301-752-000
Description
NUT, L. HEX. (12MM)
Serial Range
1000001 - 9999999

Ref No
14
Part Number
90303-752-000
Description
NUT, HEX. (10MM)
Serial Range
1000001 - 9999999
Qty
Price
$3.32

Ref No
15
Part Number
90451-198-000
Description
WASHER, THRUST (17MM) (SOURCE: VINTAGE PARTS INC.)
Serial Range
1000001 - 9999999

Ref No
16
Part Number
90751-769-300
Description
PIN, ROD END
Serial Range
1000001 - 9999999

Ref No
17
Part Number
94001-12080-0S
Description
NUT, HEX. (12MM)
Serial Range
1000001 - 9999999
Qty
Price
$2.12