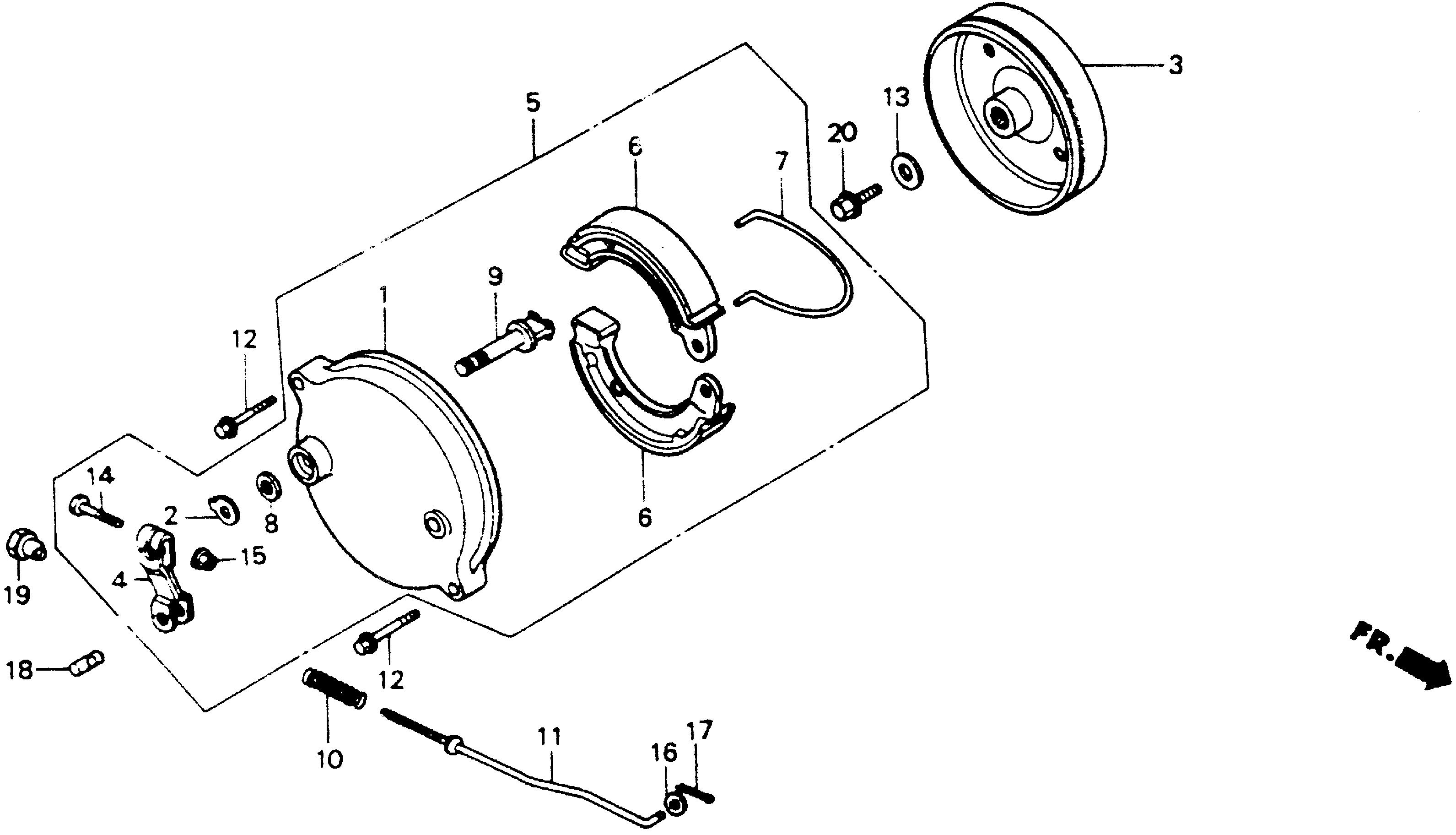
Ref No
Part Number
Description
Serial Range
Qty
Price
Ref No 1
Part Number 43100-751-000
Description PANEL, BRAKE
Serial Range 1000001 - 9999999
Qty
Price $82.88
Add To Cart
Ref No 2
Part Number 43145-751-000
Description INDICATOR, BRAKE
Serial Range 1000001 - 9999999
Qty
Price $4.42
Add To Cart
Ref No 3
Part Number 43210-751-700
Description DRUM, BRAKE
Serial Range 1000001 - 9999999
Qty
Price $57.40
Add To Cart
Ref No 4
Part Number 43410-751-000
Description ARM, RR. BRAKE
Serial Range 1000001 - 9999999
Qty
Price $19.00
Add To Cart
Ref No 5
Part Number 43100-763-A40
Description PANEL ASSY., BRAKE
Serial Range 1000001 - 9999999
Qty
Price $155.10
Add To Cart
Ref No 6
Part Number 45120-147-672
Description SHOE, FR. BRAKE (NIPPON) (NOT AVAILABLE)
Serial Range 1000001 - 9999999
Ref No 7
Part Number 45133-044-000
Description SPRING, BRAKE SHOE
Serial Range 1000001 - 9999999
Qty
Price $2.96
Add To Cart
Ref No 8
Part Number 45134-165-890
Description SEAL, BRAKE CAM
Serial Range 1000001 - 9999999
Qty
Price $1.92
Add To Cart
Ref No 9
Part Number 45141-147-040
Description CAM, FR. BRAKE
Serial Range 1000001 - 9999999
Qty
Price $14.56
Add To Cart
Ref No 10
Part Number 47262-750-000
Description SPRING A, BRAKE ROD
Serial Range 1000001 - 9999999
Qty
Price $2.92
Add To Cart
Ref No 11
Part Number 47275-751-000
Description ROD C, FOOT BRAKE (NOT AVAILABLE)
Serial Range 1000001 - 9999999
Ref No 12
Part Number 90015-883-000
Description BOLT, FLANGE (6X28) (CT200)
Serial Range 1000001 - 9999999
Qty
Price $3.52
Add To Cart
Ref No 13
Part Number 90435-611-000
Description WASHER, SPECIAL (28X8.5X4.0)
Serial Range 1000001 - 9999999
Qty
Price $10.60
Add To Cart
Ref No 14
Part Number 92201-05025-0A
Description BOLT, HEX. (5X25) (NOT AVAILABLE)
Serial Range 1000001 - 9999999
Ref No 15
Part Number 94050-05000
Description NUT, FLANGE (5MM)
Serial Range 1000001 - 9999999
Qty
Price $1.60
Add To Cart
Ref No 16
Part Number 94101-05800
Description WASHER, PLAIN (5MM)
Serial Range 1000001 - 9999999
Qty
Price $1.20
Add To Cart
Ref No 17
Part Number 94201-20150
Description PIN, SPLIT (2.0X15)
Serial Range 1000001 - 9999999
Qty
Price $1.26
Add To Cart
Ref No 18
Part Number 95015-31001
Description JOINT A, BRAKE ARM
Serial Range 1000001 - 9999999
Qty
Price $1.96
Add To Cart
Ref No 19
Part Number 95015-41000
Description NUT A, BRAKE ROD ADJUSTING
Serial Range 1000001 - 9999999
Qty
Price $1.70
Add To Cart
Ref No 20
Part Number 90103-751-700
Description BOLT, FLANGE (8X20) (NOT AVAILABLE)
Serial Range 1000001 - 9999999