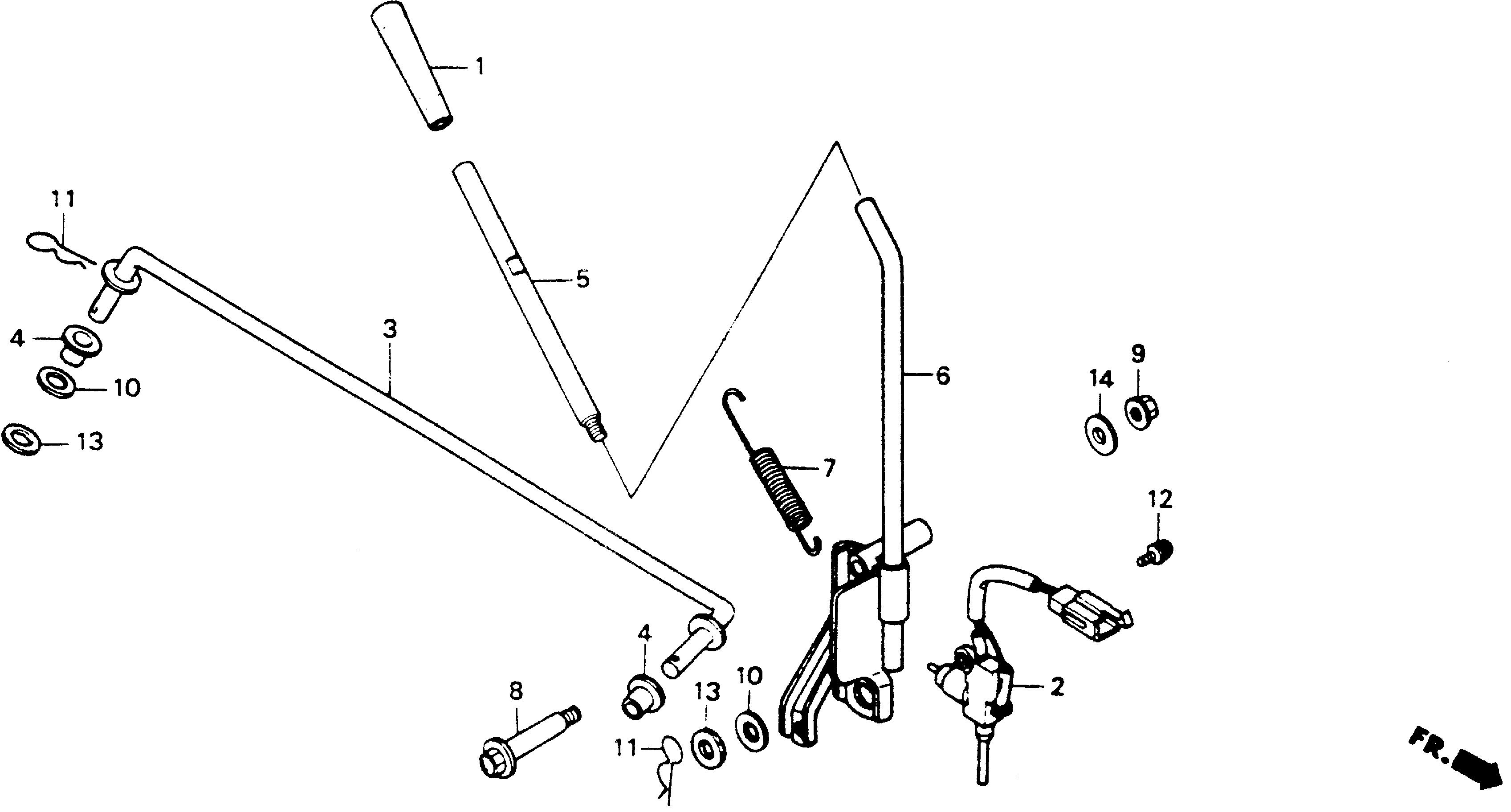
Riding Mower HT-R HT-R3811 HT-R3811 SA MABT-5000001-9999999 P.T.O. CLUTCH LEVER - D & J Equipment Inc

Ref No
Part Number
Description
Serial Range
Qty
Price

Ref No
1
Part Number
24411-750-000
Description
GRIP, CHANGE LEVER (NOT AVAILABLE)
Serial Range
1000001 - 9999999

Ref No
2
Part Number
35330-751-010
Description
SWITCH ASSY., P.T.O. CLUTCH (NOT AVAILABLE)
Serial Range
1000001 - 9999999

Ref No
3
Part Number
75187-751-700
Description
ROD, P.T.O. CLUTCH (NOT AVAILABLE)
Serial Range
1000001 - 9999999

Ref No
4
Part Number
75189-751-000
Description
BUSH, P.T.O. ROD
Serial Range
1000001 - 9999999
Qty
Price
$7.12

Ref No
5
Part Number
75251-751-000
Description
JOINT, P.T.O. CLUTCH LEVER
Serial Range
1000001 - 9999999
Qty
Price
$32.92

Ref No
6
Part Number
75252-751-010
Description
LEVER, P.T.O. CLUTCH (NOT AVAILABLE)
Serial Range
1000001 - 9999999

Ref No
7
Part Number
75253-751-003
Description
SPRING, P.T.O. CLUTCH (NOT AVAILABLE)
Serial Range
1000001 - 9999999

Ref No
8
Part Number
90104-751-000
Description
BOLT, P.T.O. CLUTCH LEVER
Serial Range
1000001 - 9999999
Qty
Price
$10.82

Ref No
9
Part Number
90309-428-731
Description
NUT, FLANGE (M8X1.25) (SELF-LOCK)
Serial Range
1000001 - 9999999
Qty
Price
$4.48

Ref No
10
Part Number
90532-751-000
Description
WASHER, P.T.O.
Serial Range
1000001 - 9999999
Qty
Price
$2.96

Ref No
11
Part Number
90651-703-000
Description
PIN, SNAP (7MM)
Serial Range
1000001 - 9999999
Qty
Price
$1.38

Ref No
12
Part Number
93893-04014-08
Description
SCREW-WASHER (4X14)
Serial Range
1000001 - 9999999
Qty
Price
$1.36

Ref No
13
Part Number
94101-10800
Description
WASHER, PLAIN (10MM)
Serial Range
1000001 - 9999999
Qty
Price
$2.30

Ref No
14
Part Number
94103-08800
Description
WASHER, PLAIN (8MM)
Serial Range
1000001 - 9999999
Qty
Price
$1.14