Snow Blowers HS HS35 HS35 A HS35-1000001-9999999 CRANKSHAFT - D & J Equipment Inc

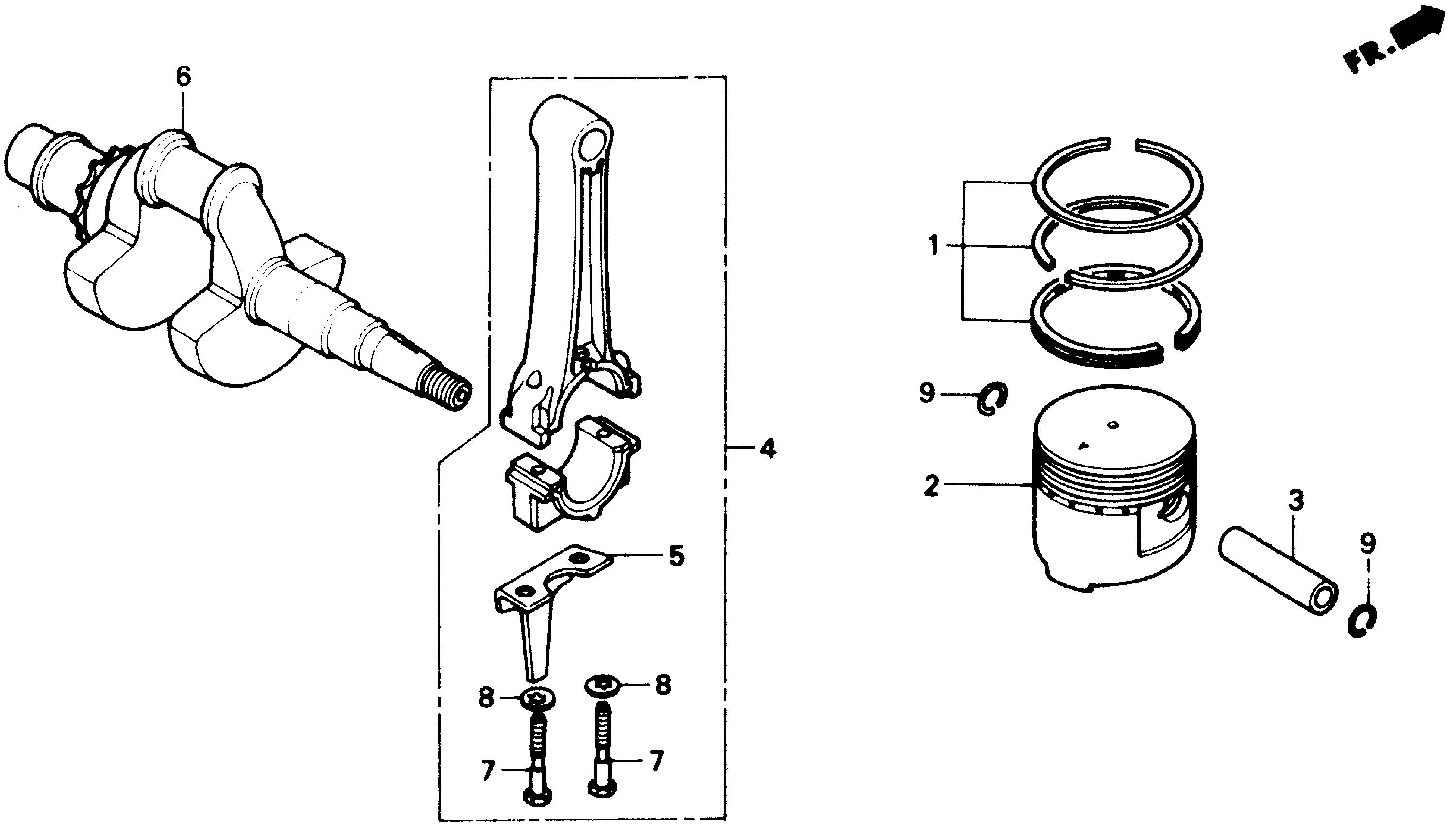
Ref No
Part Number
Description
Serial Range
Qty
Price

Ref No
1
Part Number
13010-887-000
Description
RING SET, PISTON (STD)
Serial Range
1000001 - 9999999
Qty
Price
$35.72

Ref No
1
Part Number
13011-887-000
Description
RING SET, PISTON (0.25) (NOT AVAILABLE)
Serial Range
1000001 - 9999999
Qty
Price
$26.44

Ref No
1
Part Number
13012-887-000
Description
RING SET, PISTON (0.50) (NOT AVAILABLE)
Serial Range
1000001 - 9999999

Ref No
1
Part Number
13013-887-000
Description
RING SET, PISTON (0.75) (NOT AVAILABLE)
Serial Range
1000001 - 9999999
Qty
Price
$26.44

Ref No
2
Part Number
13101-887-003
Description
PISTON (STD)
Serial Range
1000001 - 9999999
Qty
Price
$91.92

Ref No
2
Part Number
13102-887-000
Description
PISTON (0.25)
Serial Range
1000001 - 9999999

Ref No
2
Part Number
13103-887-000
Description
PISTON (0.50)
Serial Range
1000001 - 9999999

Ref No
2
Part Number
13104-887-000
Description
PISTON (0.75) (NOT AVAILABLE)
Serial Range
1000001 - 9999999

Ref No
3
Part Number
13111-883-000
Description
PIN, PISTON
Serial Range
1000001 - 9999999
Qty
Price
$11.08

Ref No
4
Part Number
13200-887-030
Description
ROD ASSY., CONNECTING
Serial Range
1000001 - 9999999

Ref No
4
Part Number
13200-887-506
Description
ROD ASSY., CONNECTING (UNDER SIZE 0.25)
Serial Range
1000001 - 9999999
Qty
Price
$80.22

Ref No
5
Part Number
13281-887-020
Description
DIPPER, CONNECTING ROD
Serial Range
1000001 - 9999999
Qty
Price
$7.02

Ref No
6
Part Number
13311-730-000
Description
CRANKSHAFT (NOT AVAILABLE)
Serial Range
1000001 - 9999999

Ref No
7
Part Number
90001-883-020
Description
BOLT, CONNECTING ROD (7MM)
Serial Range
1000001 - 9999999
Qty
Price
$4.14

Ref No
8
Part Number
90432-889-003
Description
WASHER, LOCK (7MM)
Serial Range
1000001 - 9999999
Qty
Price
$1.66

Ref No
9
Part Number
90551-883-000
Description
CLIP, PISTON PIN (15MM)
Serial Range
1000001 - 9999999

Ref No
9
Part Number
94601-15000
Description
CLIP, PISTON PIN (15MM)
Serial Range
1000001 - 9999999
Qty
Price
$1.24